Toyota sta lavorando a una trasmissione manuale simulata per alcuni dei suoi veicoli elettrici. Un deposito di brevetto in Giappone è stato visto nel 2022, mentre una nuova pubblicazione di domanda di brevetto negli Stati Uniti suggerisce che l'azienda potrebbe lanciare la tecnologia anche in questo mercato. In una presentazione su https://media.toyota.co.uk/toyota-unveils-new-technology-that-will-change-the-future-of-cars/ all'inizio di quest'anno, Toyota ha annunciato le sue intenzioni di sviluppare hardware e software per i veicoli elettrici a batteria, consentendo loro di avere funzioni di controllo della guida e della frizione.
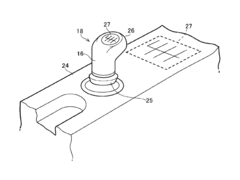
Il brevetto statunitense di Toyota illustra un cambio manuale virtuale, che utilizza una leva del cambio dal design simile a quello di una tipica auto manuale. I disegni mostrano il dispositivo di cambio con uno schema che indica al conducente dove si trova ogni fase del cambio virtuale e suggeriscono che potrebbe essere utilizzato lo stesso percorso trasversale del selettore. Le fasi sono correlate ai livelli di coppia generati dal motore elettrico. Il dossier afferma che Toyota sta valutando opzioni per veicoli non limitati a sei o sette velocità, come le tipiche auto manuali. Inoltre, gli utenti potrebbero selezionare vari modelli di coppia per adattarsi al loro stile di guida preferito.
Toyota sta già testando questa tecnologia in una Lexus UX300e EV. Chi ha guidato il concept EV manuale descrive l'esperienza di guida come divertente e nota che è possibile "stallare" il veicolo. Resta da vedere se e quando la tecnologia potrebbe essere disponibile per l'acquisto di un veicolo elettrico del Gruppo Toyota. Le indiscrezioni suggeriscono che il concept FT-Se, mostrato al Japan Mobility Show 2023, potrebbe essere uno dei primi modelli con un cambio manuale virtuale.
Fonte(i)
I nostri Top 10
» Top 10 Portatili Multimedia
» Top 10 Portatili Gaming
» Top 10 Portatili Gaming Leggeri
» Top 10 Portatili da Ufficio e Business economici
» Top 10 Portatili Premium da Ufficio/Business
» Top 10 Portatili sotto i 300 Euro
» Top 10 Portatili sotto i 500 Euro
» Top 10 dei Portatili Workstation
» Top 10 Subnotebooks
» Top 10 Ultrabooks
» Top 10 Convertibili
» Top 10 Tablets
» Top 10 Tablets Windows
» Top 10 Smartphones












