Storicamente, Garmin ha offerto varianti dei suoi smartwatch focalizzati sull'outdoor con funzionalità di ricarica solare che teoricamente offrono una durata della batteria infinita. In pratica, modelli come l'Instinct 3 Solar e il Fenix 7 Pro Solar (al momento 449 dollari su Amazon) offrono da tre a cinque settimane di batteria a testa, a seconda della quantità di luce solare a cui sono esposti quotidianamente.
Finora, Garmin ha offerto la ricarica solare solo con gli smartwatch dotati di display Memory in Pixel (MiP). Di conseguenza, il Fenix 8 Solar e il Tactix 8 Solar non possono usufruire della tecnologia del pannello AMOLED più vibrante presente nel Fenix E e nel Fenix 8 normale. Nel frattempo, non esistono ancora versioni solari del Fenix 8 Pro, poiché Garmin limita i suoi ultimi smartwatch a marchio Pro ai display AMOLED e microLED.
I nostri Top 10
» Top 10 Portatili Multimedia
» Top 10 Portatili Gaming
» Top 10 Portatili Gaming Leggeri
» Top 10 Portatili da Ufficio e Business economici
» Top 10 Portatili Premium da Ufficio/Business
» Top 10 Portatili sotto i 300 Euro
» Top 10 Portatili sotto i 500 Euro
» Top 10 dei Portatili Workstation
» Top 10 Subnotebooks
» Top 10 Ultrabooks
» Top 10 Convertibili
» Top 10 Tablets
» Top 10 Tablets Windows
» Top 10 Smartphones
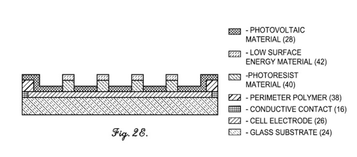
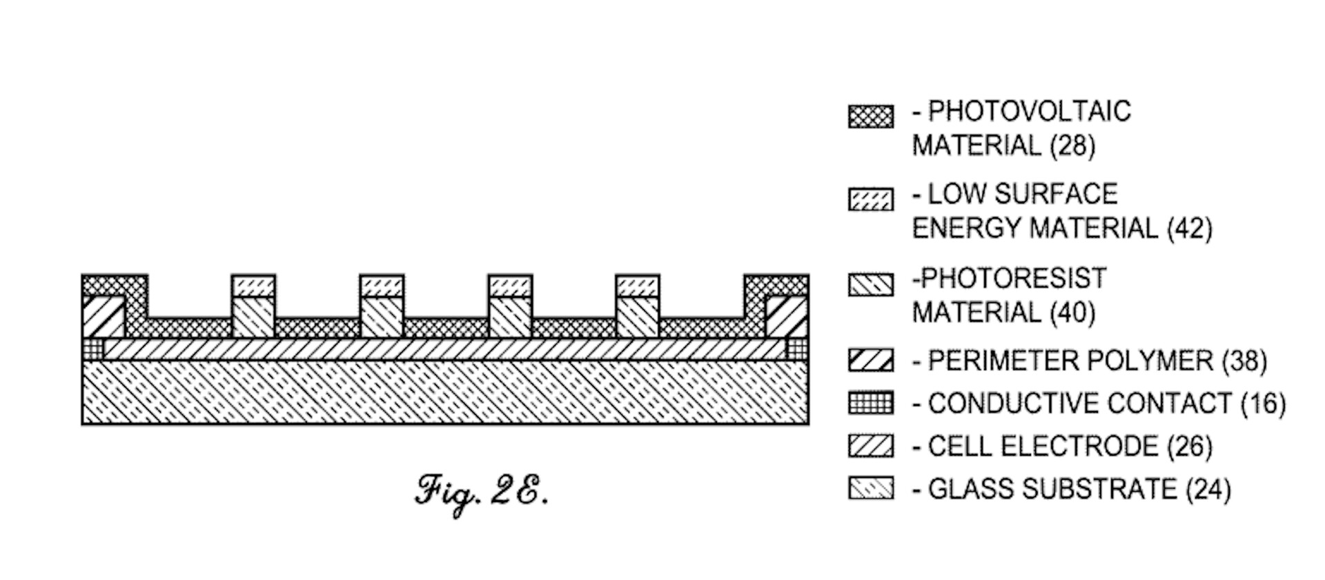
Tuttavia, una recente pubblicazione di brevetti indica che Garmin spera di cambiare questa attuale restrizione rielaborando l'implementazione delle celle solari. Depositato presso l'Ufficio brevetti e marchi degli Stati Uniti (USPTO) come US 2025/0359354 A1il brevetto descrive una cella solare semitrasparente che non compromette la visibilità del pannello AMOLED.
Di conseguenza, il sito Gadgets & Wearables ipotizza che Garmin stia lavorando per rilasciare smartwatch di fascia alta con display AMOLED e capacità di ricarica solare. L'USPTO ha concesso questo brevetto solo il 20 novembre. Pertanto, sospettiamo che Garmin sia a qualche anno di distanza dalla produzione di massa di questa tecnologia, sempre che decida di farlo. Detto questo, non ci aspettiamo di vedere gli smartwatch Fenix 9 Pro prima del 2027.










