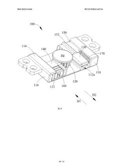
Uno dei Huawei ultimi brevetti depositati presso l'Ufficio Mondiale della Proprietà Intellettuale (WIPO) descrive quello che chiama "dispositivo elettronico staccabile", composto da una sottile scatola rettangolare con connettori proprietari lungo ogni bordo lungo
Si tratta di apparentemente destinati a consentire l'installazione di 2 diversi dispositivi o accessori di inserire due diversi dispositivi o accessori aggiuntivi, anche se in modo diverso a seconda del lato in cui si agganciano. Ad esempio, è evidente che i connettori lungo un'estremità del dispositivo sono stati pensati per ospitare una cerniera.
Questa estremità è rappresentata su come compatibile con qualcosa che molto probabilmente è un display mentre l'altra potrebbe essere collegata a una tastiera. Pertanto, l'intera disposizione in tre parti costituisce un potenziale nuovo tipo di computer portatilecon il nucleo "staccabile" come hub (che può avere o meno un display montato in alto) display un proprio display montato sulla parte superiore) all'interno del quale potrebbero trovarsi componenti importanti come il processore e la grafica.
Di conseguenza, sembra che Huawei abbia visto altre idee, come la nuova IP di Apple per quello che sembra un un reboot di modelli originali come il II, per non parlare di cose come il macBook con sola tastiera e, naturalmente, il Raspberry Pi 400 - e ha portato il concetto a un livello superiore.
D'altronde, portare questo presunto nuovo tipo di pC convertibile sul mercato potrebbe sembrare troppo poco e troppo tardi di fronte alla possibile ascesa dei laptop pieghevoli laptop pieghevoleche alla fine potrebbe rivelarsi l'alternativa più versatile e portatile
D'altra parte, questa nuova idea di Huawei d'altra parte, questa nuova idea di Huawei potrebbe avere una sua ragion d'essere, soprattutto in considerazione della potenziale gamma e scelta di accessori agganciabili scalabile soluzione scalabile.
Fonte(i)
WIPO via MySmartPrice
I nostri Top 10
» Top 10 Portatili Multimedia
» Top 10 Portatili Gaming
» Top 10 Portatili Gaming Leggeri
» Top 10 Portatili da Ufficio e Business economici
» Top 10 Portatili Premium da Ufficio/Business
» Top 10 Portatili sotto i 300 Euro
» Top 10 Portatili sotto i 500 Euro
» Top 10 dei Portatili Workstation
» Top 10 Subnotebooks
» Top 10 Ultrabooks
» Top 10 Convertibili
» Top 10 Tablets
» Top 10 Tablets Windows
» Top 10 Smartphones























