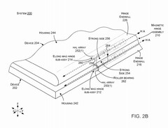
Un brevetto depositato nel corso del 2018 rivela un concept ancora più sofisticato che potrebbe essere presentato in futuro. Microsoft, con le varie generazioni di Surface, si è ormai specializzata nell'ingegnerizzazione di cerniere avanzate e la soluzione depositata non sembrerebbe da meno. A giudicare dagli schermi del brevetto, Microsoft potrebbe introdurre una sorta di cerniera magnetica per tenere ancorati i due display.
L'idea alla base sarebbe quella di offrire due tablet indipendenti e perfettamente funzionanti, che però potrebbero essere uniti in un unico dispositivo a seconda delle esigenze dell'utente. Inoltre, una cerniera con questa struttura, si potrebbero raggiungere angoli di inclinazione quasi irraggiungibili allo stato attuale.
Una soluzione di questo tipo consentirebbe un rapido accesso al meccanismo e una veloce rimozione di polvere e detriti, consentendo quindi un movimento dei display sempre lineare e fluido. Allo stato attuale non è chiaro se vedremo mai sul mercato un dispositivo dotato di questo avanzato sistema di aggancio; Surface Duo e Neo utilizzeranno una cerniera più classica pertanto questo brevetto potrebbe prendere piede solamente nei dispositivi del futuro.
Source(s)
I nostri Top 10
» Top 10 Portatili Multimedia
» Top 10 Portatili Gaming
» Top 10 Portatili Gaming Leggeri
» Top 10 Portatili da Ufficio e Business economici
» Top 10 Portatili Premium da Ufficio/Business
» Top 10 Portatili sotto i 300 Euro
» Top 10 Portatili sotto i 500 Euro
» Top 10 dei Portatili Workstation
» Top 10 Subnotebooks
» Top 10 Ultrabooks
» Top 10 Convertibili
» Top 10 Tablets
» Top 10 Tablets Windows
» Top 10 Smartphones












