Samsung Display, una filiale di Samsung Electronics, espone spesso concetti in occasione di fiere come il Consumer Electronics Show (CES) e il Mobile World Congress (MWC), tra gli altri. Per esempio, il produttore di display ha utilizzato il MWC 2025 per presentare varie innovazioni, tra cui il Flex Gaming e la Cartella flessibile.
Di solito, questi concetti rimangono tali e non raggiungono mai la produzione di massa. Tuttavia, sembra che Samsung Display abbia utilizzato il MWC 2025 anche per presentare i pannelli pieghevoli che saranno alla base del primo modello tri-fold di Samsung per i consumatori primo tri-fold per i consumatori e il successore del modello Galaxy Z Fold6 (attualmente 1.099 dollari - rinnovato su Amazon).
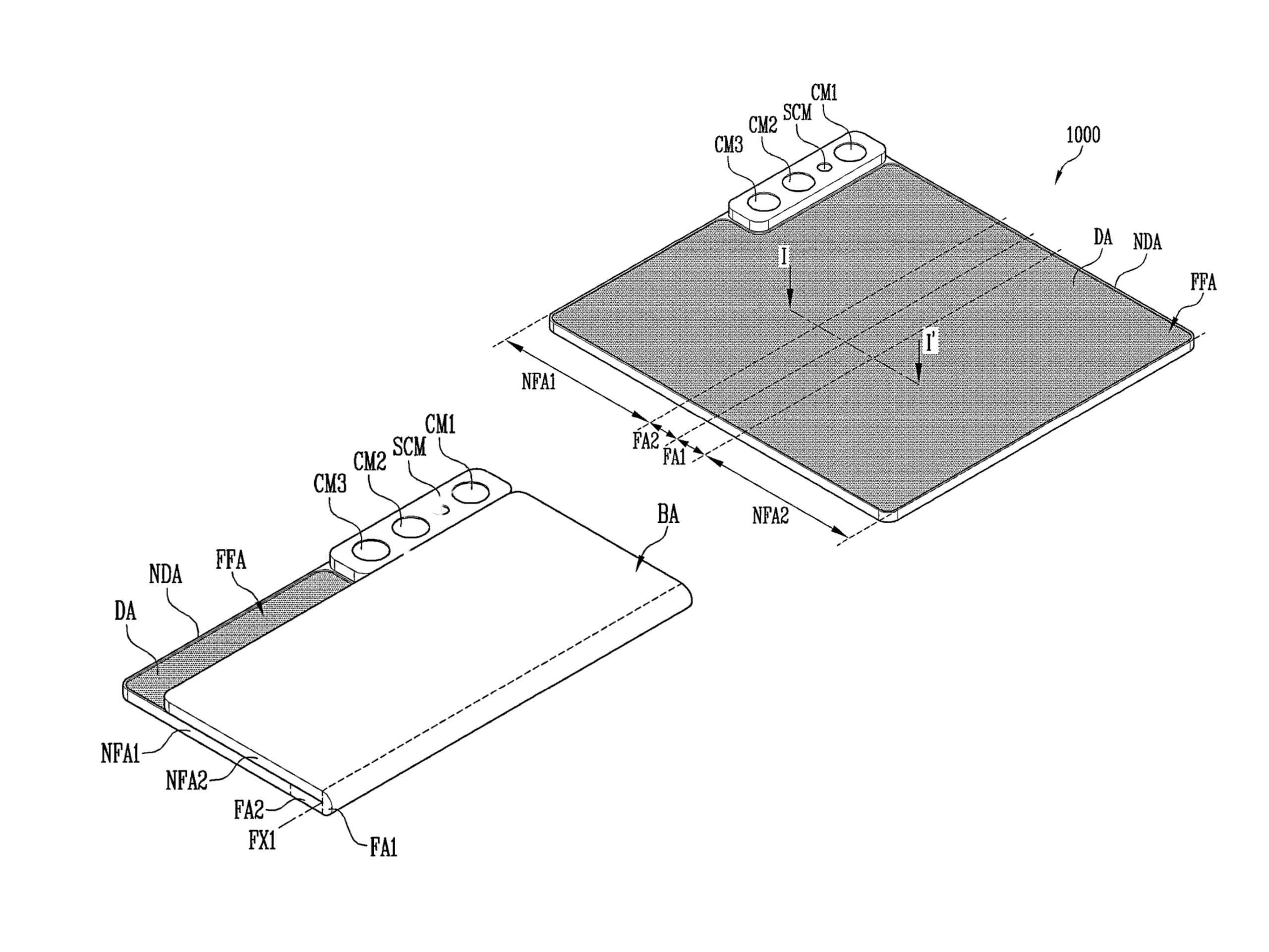
Ora, l'azienda ha ricevuto l'approvazione del design dall'Ufficio brevetti e marchi degli Stati Uniti ( ) (USPTO) per un fattore di forma pieghevole completamente nuovo. Come mostrano i disegni del brevetto qui sotto, questo concept può piegare il suo display verso l'interno e verso l'esterno, anziché in un solo senso come gli attuali pieghevoli per i consumatori. In effetti, il concetto combina i principi di Galaxy Z Fold e di Huawei Mate Xs o Mate Xs 2 in un unico dispositivo.
Il design brevettato si differenzia dal Flex In N Out che Samsung Display ha presentato durante il CES 2023 più di due anni fa. Ricapitolando, il Flex In N Out sembrava un normale pieghevole che poteva essere ripiegato verso l'interno e verso l'esterno. Al contrario, il nuovo concept di Samsung Display lascia una parte del display esposta sotto l'immaginario array di tre fotocamere. Sebbene le possibilità che questo design si realizzi siano scarse, potremmo vedere Samsung Display esporre un esempio reale in occasione di una futura fiera, come ha fatto all'inizio di quest'anno con il modello Flex Gaming Flex Gaming.
I nostri Top 10
» Top 10 Portatili Multimedia
» Top 10 Portatili Gaming
» Top 10 Portatili Gaming Leggeri
» Top 10 Portatili da Ufficio e Business economici
» Top 10 Portatili Premium da Ufficio/Business
» Top 10 Portatili sotto i 300 Euro
» Top 10 Portatili sotto i 500 Euro
» Top 10 dei Portatili Workstation
» Top 10 Subnotebooks
» Top 10 Ultrabooks
» Top 10 Convertibili
» Top 10 Tablets
» Top 10 Tablets Windows
» Top 10 Smartphones
















