Lo standard di RAM SO-DIMM per laptop e dispositivi compatti è in circolazione da quasi 25 anni e sembra che il venerabile fattore di forma stia iniziando a mostrare i suoi limiti, soprattutto con l'introduzione delle DDR5 Che possono raggiungere velocità più elevate. Nell'aprile del 2022, Dell ha proposto un fattore di forma alternativo chiamato CAMM (Compression Attached Memory Module) e questo progetto sarà utilizzato dal JEDEC per creare un successore per le memorie SO-DIMM, come riportato da PCWorld. A differenza di altri standard che richiedono diversi anni per essere implementati, il CAMM potrebbe essere presente nei computer portatili entro il 2024, dato che 20 aziende hanno già votato per l'adozione di questo standard.
CAMM è stato progettato da Tom Schnell, Senior Distinguished Engineer di Dell, che è anche membro di JEDEC. Inizialmente si temeva che CAMM potesse diventare uno standard proprietario di Dell per le potenti workstation dell'azienda workstation dell'aziendama con la convalida di CAMM da parte di molte altre aziende attraverso JEDEC, questo non è più il caso.
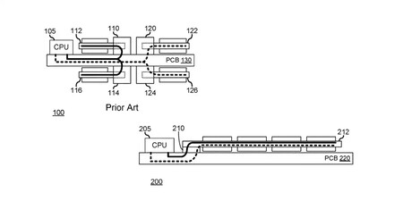
Progettato per superare le limitazioni di scalabilità e frequenza dello standard SO-DIMM, che a quanto pare si sta scontrando con un "muro di mattoni" con le specifiche DDR5-6400, il CAMM dovrebbe offrire capacità maggiori, fino a 128 GB per modulo e, naturalmente, velocità di trasferimento più elevate rispetto alle DDR5-6400. Inoltre, gli ultrabook e i dispositivi compatti potrebbero diventare più sottili e leggeri grazie allo standard CAMM.
Secondo le stime del JEDEC, le specifiche finali del CAMM 1.0 dovrebbero essere rilasciate nella seconda metà del 2023 e potrebbero includere alcune modifiche al progetto iniziale di Dell. Un altro vantaggio offerto da CAMM è che Moduli LPDDR possono essere sostituiti invece di essere saldati alla scheda madre, il che aggiungerebbe il tanto necessario fattore di aggiornabilità per i notebook sottili e leggeri.
Acquistate il notebook workstation Dell Precision 7670 con RAM CAMM su Amazon
I nostri Top 10
» Top 10 Portatili Multimedia
» Top 10 Portatili Gaming
» Top 10 Portatili Gaming Leggeri
» Top 10 Portatili da Ufficio e Business economici
» Top 10 Portatili Premium da Ufficio/Business
» Top 10 Portatili sotto i 300 Euro
» Top 10 Portatili sotto i 500 Euro
» Top 10 dei Portatili Workstation
» Top 10 Subnotebooks
» Top 10 Ultrabooks
» Top 10 Convertibili
» Top 10 Tablets
» Top 10 Tablets Windows
» Top 10 Smartphones









