In un nuovo brevetto scoperto da tech4gamers.com, AMD esprime le sue preoccupazioni in merito ai limiti di larghezza di banda dello standard DDR5, soprattutto ora che la richiesta di potenza di calcolo AI è in costante aumento. Mentre Nvidia e i produttori di chip di memoria come Samsung, SK Hynix e Micron si stanno concentrando sullo standard SOCAMM2 aMD propone un'alternativa che sarebbe più facile da implementare nei sistemi DDR5 esistenti, siano essi soluzioni consumer o per data center.
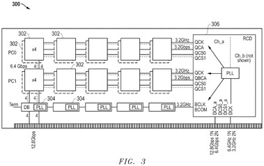
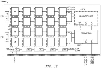
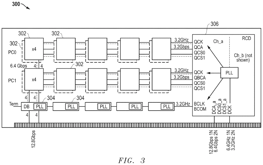
Lo standard di memoria migliorato di AMD prevede "un'architettura di moduli di memoria ad alta larghezza di banda" che essenzialmente raddoppia l'attuale larghezza di banda massima DDR5 di 6,4 Gbps. È importante notare che la larghezza di banda di 12,8 Gbps si ottiene senza modificare il design dei chip DRAM. Invece, i chip DRAM sono collocati su un modulo di memoria in linea doppio ad alta larghezza di banda (HB-DIMM). I moduli integrano anche una serie di componenti hardware aggiuntivi, come speciali chip buffer che consentono trasferimenti di dati due volte più veloci di quelli consentiti dallo standard DDR5. Inoltre, il modulo si avvale di driver di clock del registro (RCD) che instradano i segnali in modo più efficiente, parallelizzando l'accesso alla memoria e quindi superando i limiti di velocità dello standard DDR5.
Il deposito del brevetto rileva che le HB-DIMM consentono una rapida commutazione tra le modalità pseudocanale e quadrank, rendendo la soluzione praticabile per gli HPC, i casi d'uso dell'AI e i sistemi di gioco. La compatibilità con DDR5 è assicurata con l'aiuto di modalità di clock flessibili e un formato di trasferimento dati non interlacciato che mantiene l'integrità del segnale e una bassa latenza.
Sembra che HB-DIMM sia molto simile allo standard MRDIMM (Multiplexed Rank Dual Inline Memory Modules) di Micron. Tuttavia, MRDIMM è disponibile solo per la piattaforma Xeon Granite Rapids di Intel, quindi AMD sta probabilmente cercando di avere qualcosa di simile per i futuri processori EPYC. Phoronix ha recentemente pubblicato un test su DDR5-6400 vs MRDIMM-8800 e lo standard proprietario di Micron sembra essere effettivamente più veloce, ma certamente non due volte più veloce di DDR5.
SOCAMM2 gode attualmente di un maggiore supporto da parte dell'industria, quindi l'HB-DIMM di AMD potrebbe avere difficoltà a essere adottato, almeno per quanto riguarda i settori HPC e server.
Fonte(i)
via Techradar / Tech4Gamers / OC3D.net
I nostri Top 10
» Top 10 Portatili Multimedia
» Top 10 Portatili Gaming
» Top 10 Portatili Gaming Leggeri
» Top 10 Portatili da Ufficio e Business economici
» Top 10 Portatili Premium da Ufficio/Business
» Top 10 Portatili sotto i 300 Euro
» Top 10 Portatili sotto i 500 Euro
» Top 10 dei Portatili Workstation
» Top 10 Subnotebooks
» Top 10 Ultrabooks
» Top 10 Convertibili
» Top 10 Tablets
» Top 10 Tablets Windows
» Top 10 Smartphones







